출원번호 : 20-2021-0002544 (2021.08.12)
등록번호 : 20-04967140000 (2023.04.05)
특허권자 : 김성천
요약 :
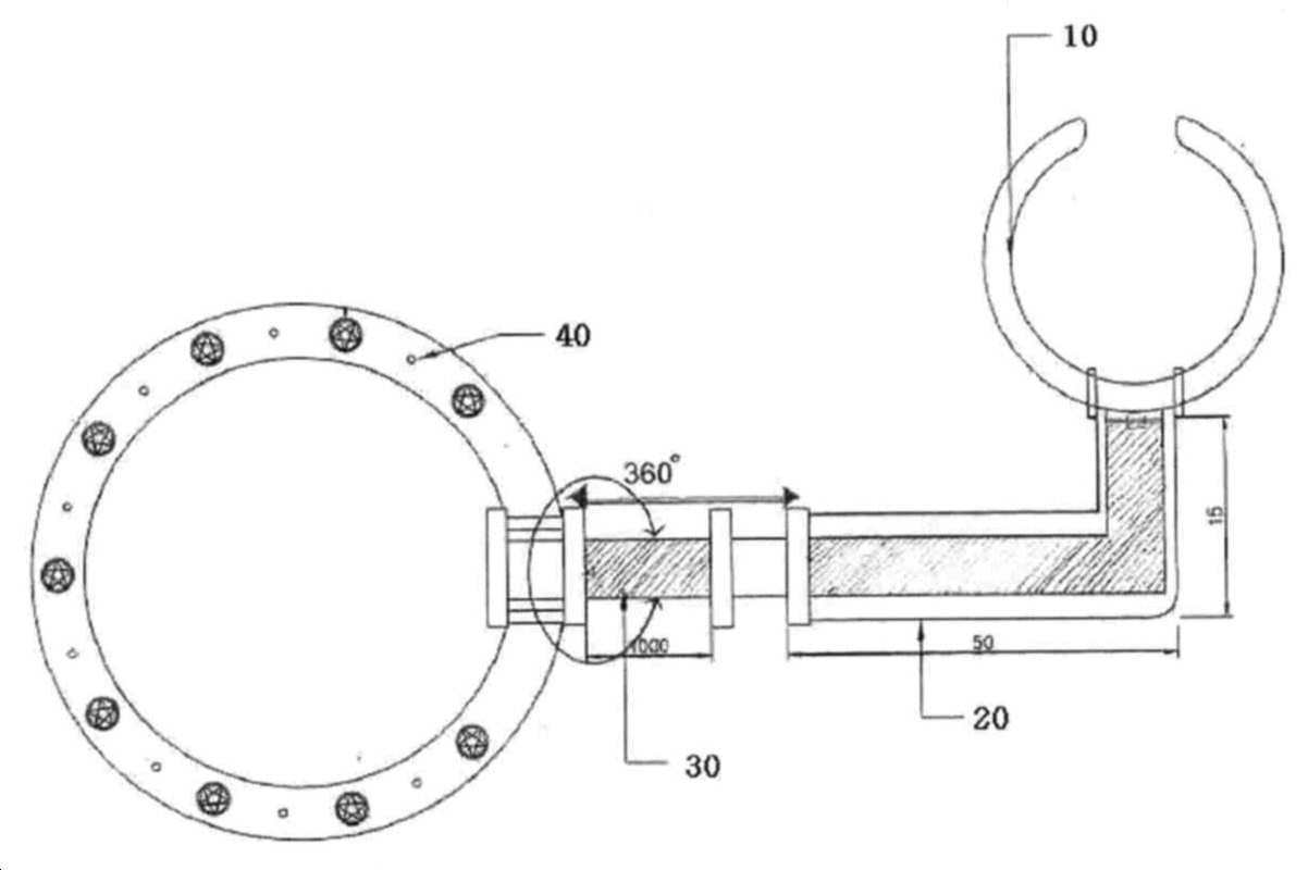
본 고안은 회전가능하게 결합되는 손목밴드를 구비한 LED 탬버린에 관한 것으로서, 보다 상세하게는 탬버린 이용시 다양한 퍼포먼스가 가능하도록 손목에 끼워서 사용하도록 손목밴드를 포함하고, 손목밴드와 탬버린 본체간 360도로 자유롭게 회전가능하도록 결합되는 연결부를 가짐으로서, 손목을 움직여 탬버린을 연주함과 동시에 LED 불빛을 나오도록 하여 다양한 퍼포먼스가 가능한 회전가능하게 결합되는 손목밴드를 구비한 LED 탬버린에 관한 것이다.
본 고안은 손목에 탬버린을 연결한 채로 다양한 탬버린 연주가 가능하도록 탬버린과 손목밴드에 360도 회전가능하게 결합되는 연결부와 LED 램프를 구비함으로써, 탬버린을 360도 회전과 동시에 탬버린을 위아래로 떨어뜨리고 당기면서 화려한 탬버린 연주와 퍼포먼스를 연출할 수 있다.
또한, 탬버린의 LED 발광 다이오드와 회전가능하게 결합되는 연결부로 인하여 회전에 의해 LED 불빛이 화려한 조명의 역할도 함께 수행할 수 있어 멋진 공연을 연출할 수 있어 연주가의 탬버린 연출 기술에 따라 멋지고 화려한 탬버린 연주가 가능할 수 있다.
2020210002544




