출원번호 : 10-2008-0128763 (2008.12.17)
등록번호 : 10-09021760000 (2009.06.03)
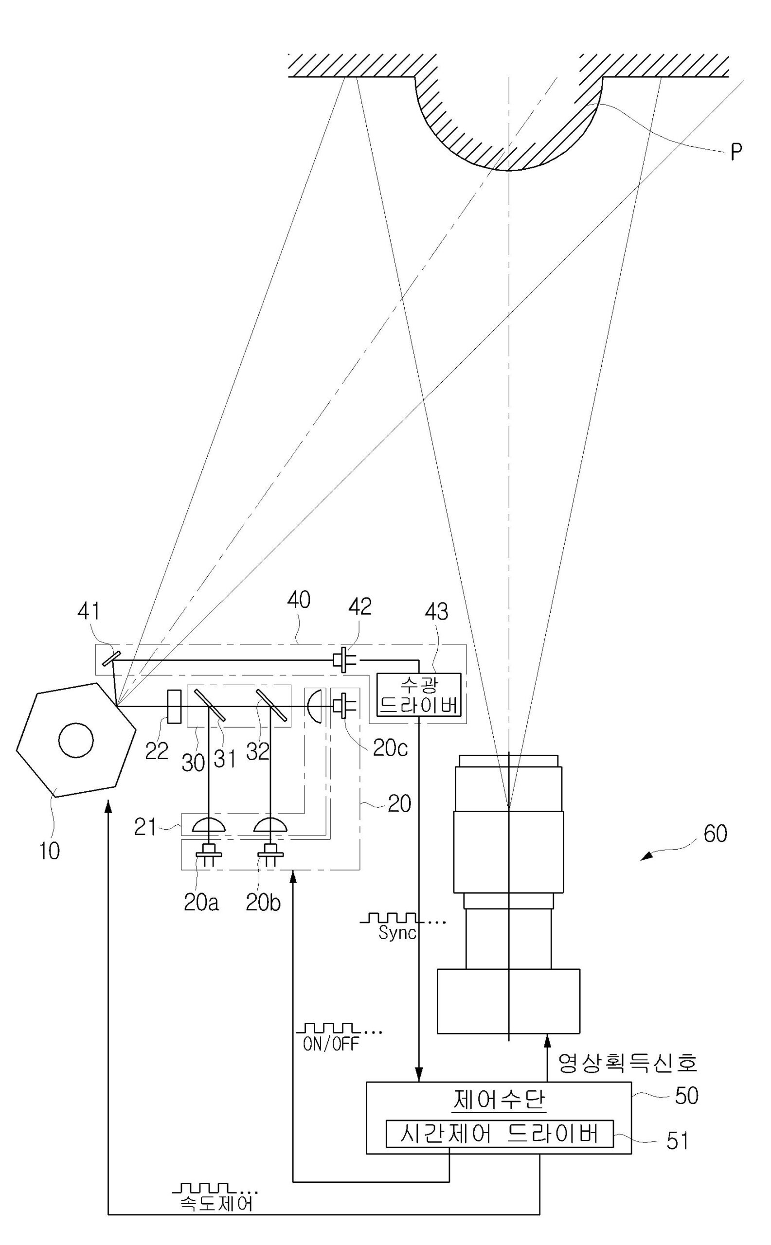
요약 : 이를 위한, 본 발명은 3D 스캐너에 있어서, 상기 회전다면경의 일측에 구비되며 서로 다른 색정보를 갖는 점광을 발생하는 다수의 광원과, 상기 각 광원으로부터 발생한 다양한 방향에서의 광을 동일한 광축으로 출사시키기 위한 광필터링 수단과, 상기 회전다면경의 반사면에서 반사되는 광을 수광하여 광로를 인식하여 동기신호를 발생하는 광경로인식수단과, 상기 광경로인식수단으로부터 발생하는 동기신호에 동기시켜 상기 광원의 점멸주기를 조정하여 직선 줄무늬의 주기와 위상을 제어하는 제어수단과, 상기 측정대상물 표면으로부터 반사되는 광을 촬상하는 컬러카메라를 포함한다.





