출원번호 : 10-2013-0097244 (2013.08.16)
등록번호 : 10-15339690000 (2015.06.30)
특허권자 : 군산대학교산학협력단
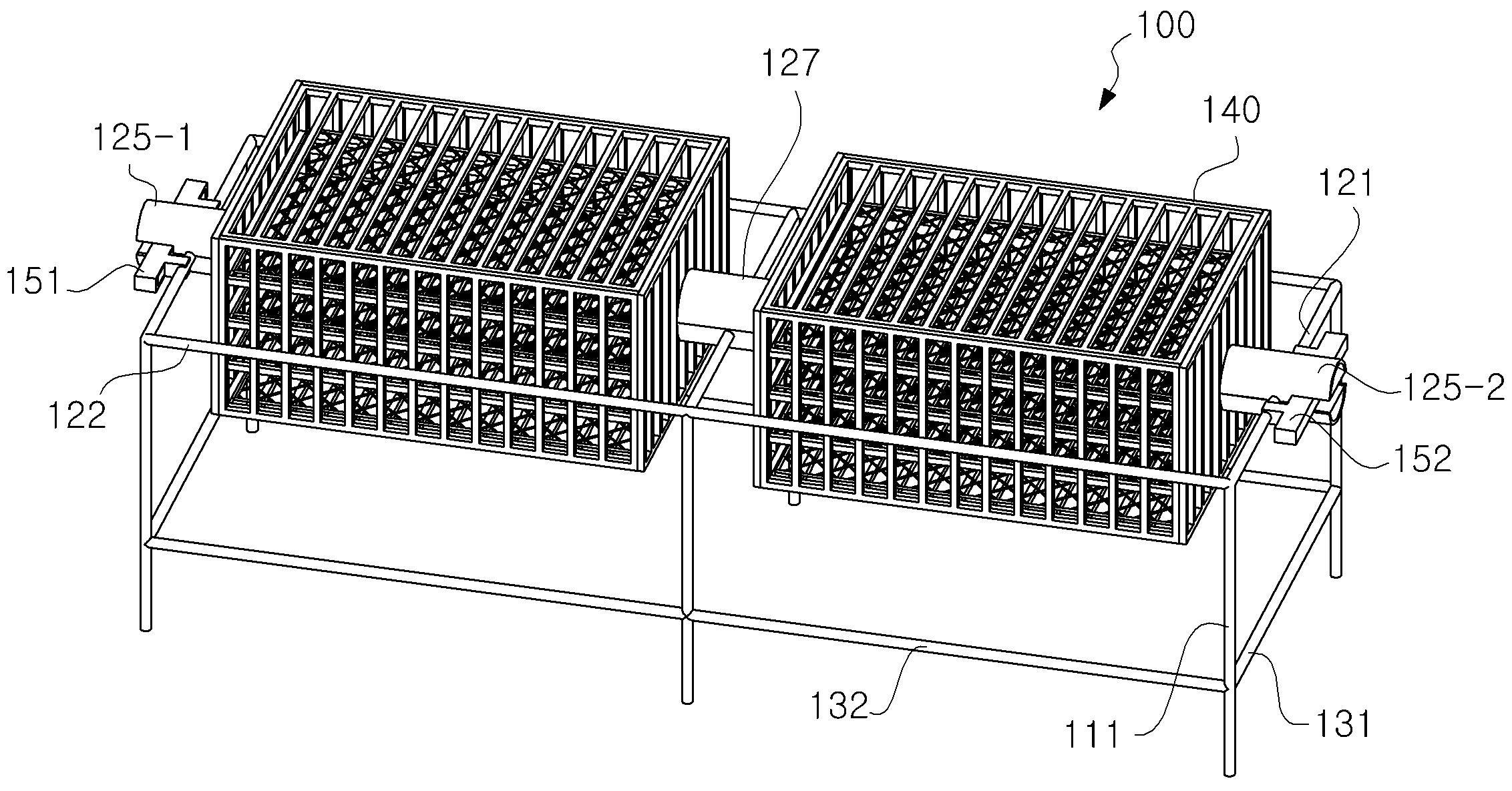
요약 : 본 발명의 실시예에 따른 회전식 이매패류 양식장치는 지지 프레임, 상부 단축 프레임, 상부 장축 프레임, 하부 단축 프레임, 및 하부 장축 프레임을 다수 포함하여 구성된 프레임 구조물; 상기 프레임 구조물의 상부에 회동 가능하게 연결 장착된 다수의 양식 케이지; 상기 양식 케이지 사이에서 상기 양식 케이지를 서로 연결하는 중간연결경첩; 상기 프레임 구조물의 상부 일측에 일체로 형성되어 상기 중간연결경첩을 둘러싸고 지지하는 중간연결 하우징; 최외곽의 양식 케이지를 최외곽의 상부 단축 프레임 일측에 연결하는 말단연결경첩; 및 상기 최외곽의 상부 단축 프레임 일측에 일체로 형성되고, 상기 말단연결경첩을 둘러싸고 지지하며, 고정바가 일측 방향에서 맞물리는 말단연결 하우징;을 포함한다.
1020130097244





