휴대용 레일 내부온도 검출장치
출원번호 : 10-2017-0135354 (출원일: 2017-10-18)
등록번호 : 10-1996876 (등록일: 2019-07-01)
특허권자 : 충남대학교산학협력단
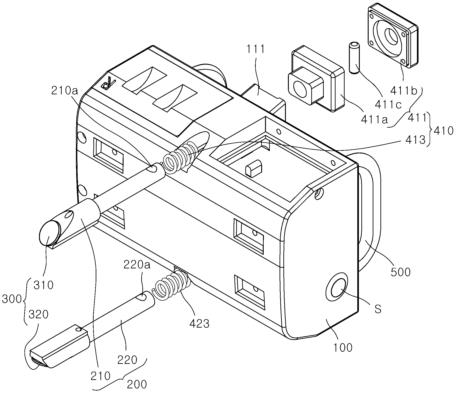
요약 : 본 발명은 레일의 표면온도를 보다 정확하게 측정함으로써 레일의 표면온도로부터 산출되는 레일 내부의 대표 온도의 신뢰성을 향상시킬 뿐만 아니라, 내부 대표온도 검출이 요구되는 레일에 탈부착됨으로써 레일의 구간별 대표 온도를 검출할 수 있게 되는 휴대용 레일 내부온도 검출장치에 관한 것이다. 이를 위하여 본 발명은 하우징, 상기 하우징에 형성된 측정부 관통홀을 관통하면서 상기 하우징과 결합되며, 일단에 온도 센서부가 결합되는 레일온도 측정부, 상기 레일온도 측정부를 길이방향으로 이동시키는 접촉 유도부, 상기 온도 센서부에서 측정한 상기 레일의 표면 온도를 바탕으로 레일의 내부 대표온도를 산출하는 알고리즘이 기저장된 연산 처리부 및 상기 레일의 내부 대표온도 정보를 외부 관리서버 또는 단말기로 전송하는 통신부를 포함하며, 상기 레일온도 측정부는 상기 레일의 제1 영역의 표면 온도를 측정하는 제1 레일온도 측정부와, 상기 레일의 제2 영역의 표면 온도를 측정하는 제2 레일온도 측정부를 포함하는 것을 특징으로 하는 휴대용 레일 내부온도 검출장치를 제공한다.
대표청구항 : 하우징;상기 하우징에 형성된 측정부 관통홀을 관통하면서 상기 하우징과 결합되며, 일단에 온도 센서부가 결합되는 레일온도 측정부;상기 레일온도 측정부를 길이방향으로 이동시키는 접촉 유도부;상기 온도 센서부에서 측정한 상기 레일의 표면 온도를 바탕으로 레일의 내부 대표온도를 산출하는 알고리즘이 기저장된 연산 처리부;상기 레일의 내부 대표온도 정보를 외부 관리서버 또는 단말기로 전송하는 통신부;를 포함하며, 상기 레일온도 측정부는,상기 레일의 제1 영역의 표면 온도를 측정하는 제1 레일온도 측정부;와,상기 레일의 제2 영역의 표면 온도를 측정하는 제2 레일온도 측정부;를 포함하며,상기 제1 영역 및 상기 제2 영역은 상기 레일의 영역 중 온도 변화에 따른 변위량 분석을 통해 계산한 열 팽창량을 기준으로 집중적으로 가장 변형이 많이 일어난 영역에 해당하는 것을 특징으로 하는 휴대용 레일 내부온도 검출장치.
상세링크 : http://newsd.wips.co.kr/wipslink/api/dkrdshtm.wips?skey=3519282000697





