출원번호 : 10-2017-0083054 (2017.06.30)
등록번호 : 10-19675350000 (2019.04.03)
등록권리자 : 신한대학교 산학협력단
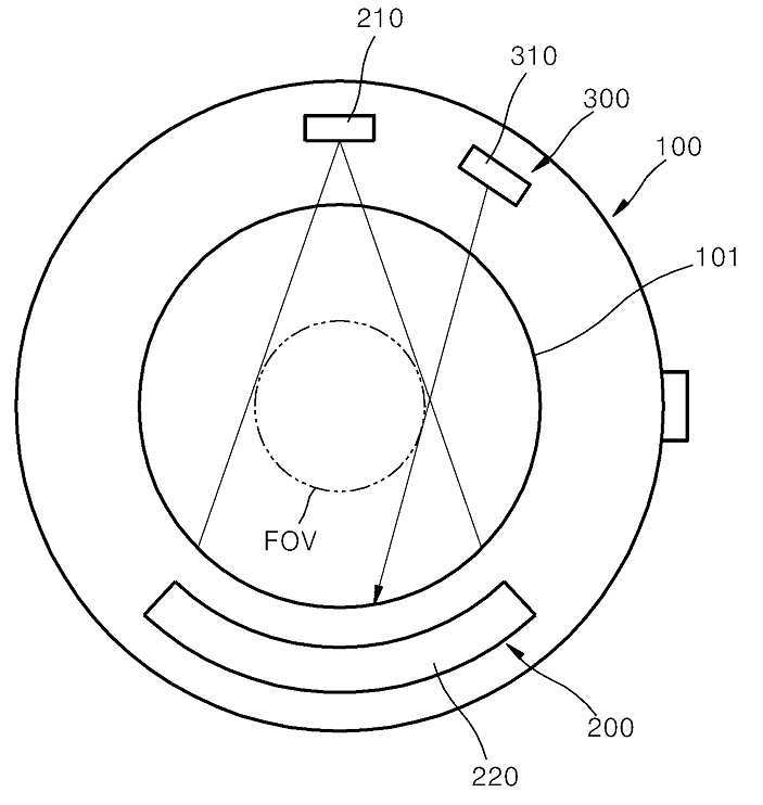
본 발명은 중심부에 피검사체를 수용하는 개구부가 형성되어 있는 겐트리부, 겐트리부에 설치되어 레이저빔을 발생시키는 엑스선 발생부와, 엑스선 발생부와 대향하는 위치의 상기 겐트리부에 설치되어 엑스선 발생부에서 발생되어 피검사체를 투과한 레이저빔을 검출하는 엑스선 검출부를 포함하는 CT촬영부 및 겐트리부에 설치되어 피검사체를 중심으로 원주방향을 따라 선회하고, 피검사체의 FOV(field of view)의 접선방향으로 비투과성 접선레이저빔을 조사하는 접선레이저빔 발생부를 포함하여, 피검사체가 FOV 내에 위치하는 지 확인할 수 있는 FOV 확인부를 포함하는 CT 장치를 제공한다.
상기한 바에 따르면 설정한 FOV에 대하여 접선레이저빔을 조사하여 작업자가 설정한 피검사체의 FOV를 확인할 수 있도록 함으로써 FOV의 신뢰성을 향상시킬 수 있으며, 피검사체와의 거리를 측정함으로써 이를 통해 피검사체에 대응하는 최적의 FOV를 설정할 수 있어 양질의 선명한 영상데이터를 확보할 수 있다.
1020170083054





