출원번호 : 10-2016-0111862 (2016년08월31일)
등록번호 : 10-1810329 (2017년12월12일)
특허권자 : 한밭대학교
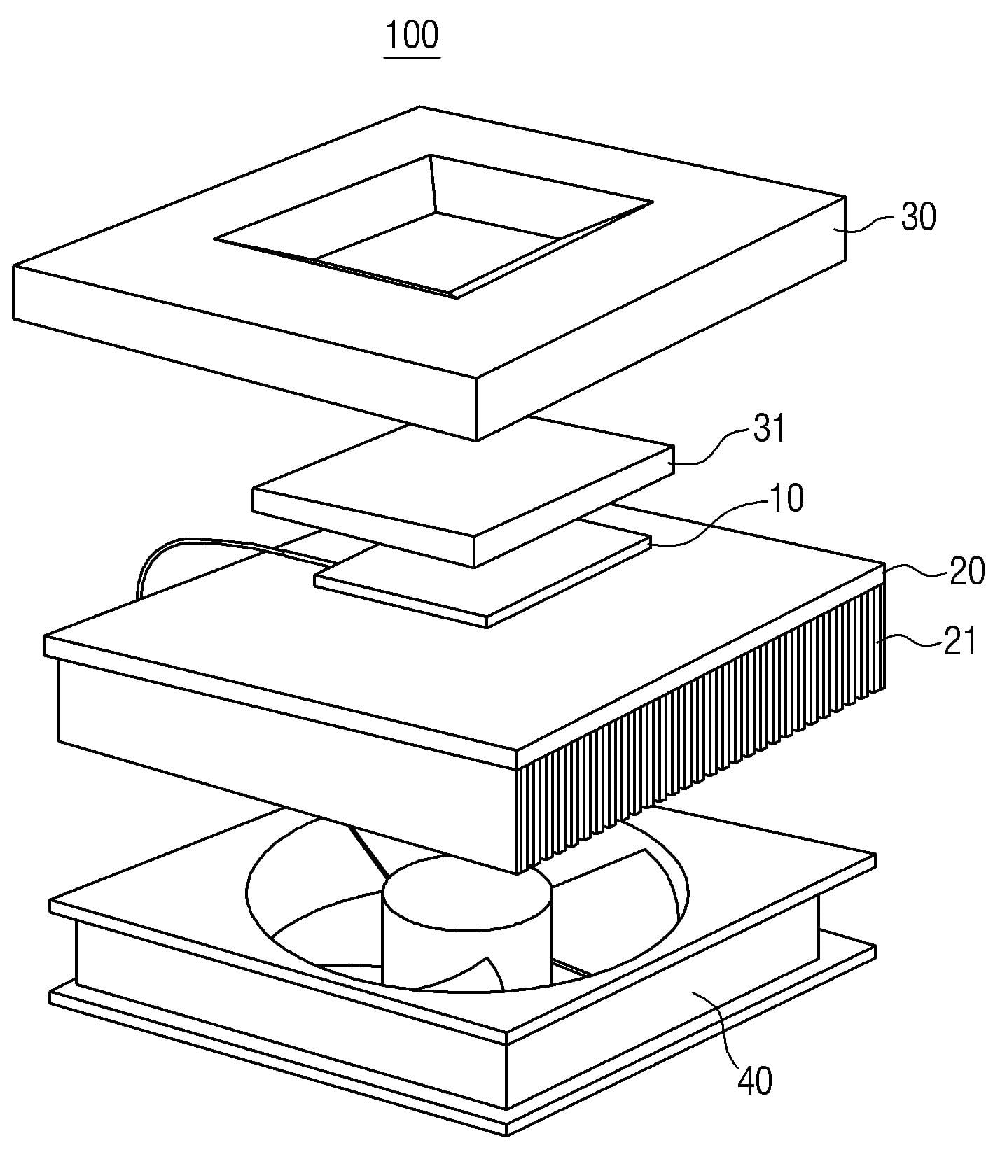
요약 : 본 발명은 모니터링 시스템의 수분 제거 전처리 장치, 수분 제거 전처리 방법 및 그 전처리 장치가 적용된 모니
터링 시스템에 대한 것이다. 보다 상세하게는 폭기조에서 배출되는 오프 가스를 모니터링하기 위한 모니터링 시
스템 내의 가스센서 측으로 상기 오프 가스를 유입시키기 전에, 상기 오프 가스 내의 수분을 제거시키기 위한 전
처리 장치에 있어서, 인가되는 전류에 의해, 일면은 냉열부, 타면은 가열부로 구성되는 열전소자; 상기 냉열부
측에 구비되어 유입되는 오프가스가 냉각되는 유입관; 상기 유입관과 연결되며 상기 가열부 측에 구비되어 냉각
된 상기 오프 가스를 가열하여 상기 가스 센서 측으로 토출시키는 토출관; 및 상기 유입관과 상기 토출관의 연결
단 일측에 구비되어, 상기 냉열부에 의해 냉각되어 형성된 오프 가스 내의 수분을 분리하는 수분 배출관;을 포함
하는 것을 특징으로 하는 수분 제거 전처리 장치에 관한 것이다.




