콘텐츠로 건너뛰기
지식마켓
지식마켓소개
공지사항
사용법 소개
전문가소개
자료실
거래중 지식재산권
특허/실용신안 (판매중)
우수기술
특허(전체)
특허(건축/토목)
특허(기계금속)
특허(기구)
특허(바이오)
특허(그린 바이오)
특허(전기전자)
특허(정보통신)
특허(화학)
실용신안권
소액특허
상표권 (판매중)
지식재산권 (라이센싱)
디자인권 (판매중)
캐릭터 (라이센싱)
브랜드 (라이센싱)
해외 지식재산권 (판매중)
미국특허
서비스소개
지식재산권 판매신청
지식재산권 구매신청
라이센싱 신청
기술가치평가신청
SMK제작의뢰
우수기술홍보신청
성공사례
지식마켓
지식마켓소개
공지사항
사용법 소개
전문가소개
자료실
거래중 지식재산권
특허/실용신안 (판매중)
우수기술
특허(전체)
특허(건축/토목)
특허(기계금속)
특허(기구)
특허(바이오)
특허(그린 바이오)
특허(전기전자)
특허(정보통신)
특허(화학)
실용신안권
소액특허
상표권 (판매중)
지식재산권 (라이센싱)
디자인권 (판매중)
캐릭터 (라이센싱)
브랜드 (라이센싱)
해외 지식재산권 (판매중)
미국특허
서비스소개
지식재산권 판매신청
지식재산권 구매신청
라이센싱 신청
기술가치평가신청
SMK제작의뢰
우수기술홍보신청
성공사례
검색
×
지식재산권 카테고리
특허/실용신안권
(5052)
우수기술 홍보
(6)
특허(전체)
(4645)
특허(건축/토목)
(208)
특허(기계금속)
(1186)
특허(기구)
(745)
특허(바이오)
(874)
특허(그린 바이오)
(443)
특허(전기전자)
(887)
특허(정보통신)
(893)
특허(화학)
(1037)
실용신안권
(41)
소액특허
(1360)
특허기술 라이센싱
(1273)
캐릭터 라이센싱
(4)
브랜드 라이센싱
(14)
상표권
(269)
디자인권
(98)
해외 지식재산권
(25)
미국특허
(45)
Filter by Price
최소 가격
최대 가격
필터
가격:
—
가격별 정렬
Filter by price
filter by price
0
원
-
1
원
(159)
1
원
-
5,000,000
원
(1049)
5,000,000
원
-
10,000,000
원
(938)
10,000,000
원
-
20,000,000
원
(311)
20,000,000
원
- ∞ (318)
홈
/
Store
/ 페이지 404
우수기술 보러가기
상표 류 해설
페이지당10개
페이지당30개
페이지당50개
페이지당100개
4837–4848/5469개 결과 표시
최신순으로 정렬됨
인기순
최신순으로 정렬
낮은가격순
높은가격순
연락하기
와이어 감속기(Wire reduction gear)
특허(기구)
연락하기
볼텍스 기반 적층조립법을 적용한 투명 전극 및 이의 제조방법(TRANSPARENT ELECTRODES BY VORTEX-ASSISTED LAYER-BY-LAYER ASSEMBLY AND METHOD FOR FABRICATING THE SAME)
특허(전기전자)
연락하기
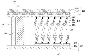
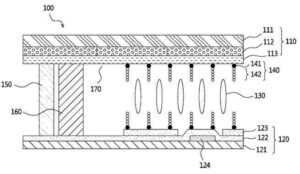
전기습윤으로 구동하는 가변 액체 셔터(Tunable liquid shutter based on electrowetting actuation)
특허(전체)
연락하기
수송연료 전구체 제조용 촉매 및 이를 이용한 수송연료 전구체의 제조방법(Catalyst for Producing Transportation Fuel Precursor and Method for Producing Transportation Fuel Precursor Using Same)
특허(전체)
연락하기
자기조립 다관능성 광반응 액정 배향층, 이를 이용한 액정표시장치 및 이의 제조방법(SELF-ASSEMBLED MULTI-FUNCTIONAL PHOTO-REACTIVE LC ALIGNMENT LAYER, LIQUID CRYSTAL DISPLAY DEVICE USING THE SAME AND METHOD FOR MANUFACTURING LCD USING THE SAME)
특허(전체)
연락하기
PTP(precision time protocol) 시스템에서의 시간 동기 장애 복구 방법 및 그 장치(Clocks timing fault recovery method and apparatus in precision time protocol system)
특허(전체)
연락하기
자기정렬 액정 배향층, 이를 이용한 액정표시장치 및 이의 제조방법(SELF-ASSEMBLED LIQUID CRYSTAL ALIGNMENT LAYER, LIQUID CRYSTAL DEVICE USING THE SAME AND METHOD FOR MANUFACTURING LCD USING THE SAME)
특허(전체)
연락하기
스위치박스를 이용한 무결절 프레임 전송방법(FRAME TRANSMISSION METHOD WITH ZERO RECOVERY TIME USING SWITCH BOX)
특허(전기전자)
연락하기
HSR 프로토콜에서의 프레임 멀티캐스팅 방법(METHOD OF FRAME MULTICASTING AT HSR PROTOCOL)
특허(전기전자)
연락하기
멀티센서 기반의 웨어러블 실내공간정보 구축시스템(WEARABLE INDOOR SPACE INFORMATION CONSTRUCTION SYSTEM BASED ON MULTI_SENSOR)
특허(전체)
연락하기
공융혼합물 증진제 및 산화마그네슘/산화알루미늄 복합체를 포함하는 이산화탄소 포집용 흡착제 및 이의 제조방법(Adsorbent for Capturing Carbon Dioxide Comprising Eutectic Mixture Promoter and Magnesium Oxide/Aluminium Oxide Composite and Method for Manufacturing Same)
특허(전체)
연락하기
프라이버시를 보장하는 자원 공유 제어 시스템(RESOURCE SHARING CONTROL SYSTEM FOR GUARANTEEING PRIVACY)
특허(전기전자)
←
1
2
3
…
401
402
403
404
405
406
407
…
454
455
456
→