...
, , ,

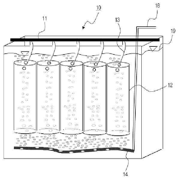
부착산란형 어류를 위한 인공 산란상을 겸비한 부화수조 및 이를 이용한 부화방법 (An incubation bath with artificial spawning bed for fish and fish incubation method)

5,000,000

판매 대리인 : 기율특허

전화번호 : 02-782-1004

메일주소 : kiyul@kiyul.co.kr

판매특허요약 : 본 발명은 실험연구 및 대량종묘 생산을 위해 자연 상태에서 산란상을 수거하여야 하는데 자연부착기질이 접근이 어려운 암벽 구멍 등으로 채취하기 어려운 상황이어서 실험실이나 양어장에서 인공 산란을 유도하여야 한다.

가격 : 500만원 (VAT불포함)

← 뒤로

응답해 주셔서 감사합니다. ✨

SKU: 군산대학교 산학협력단 카테고리: , , ,

출원번호 : 10-2011-0126865 (2011.11.30)

등록번호 : 10-13346040000 (2013.11.25)

특허권자 : 군산대학교산학협력단

요약 :이에, 본 발명은 자연상태에 설치하여 채란을 용이하게 할 수 있고 실험실이나 양어장에서 성체 친어(알을 낳는 어미 물고기)를 양성하여 채란할 수 있는 인공산란상을 겸비하고 이를 실험실이나 양어장으로 옮겨 부화하여 많은 부화유생을 안정적으로 얻을 수 있는 부화수조 및 이를 이용한 부화방법을 제공하기 위한 것이다.

 

1020110126865