출원번호 : 10-2014-0057140 (2014.05.13)
등록번호 : 10-15023240000 (2015.03.09)
등록권리자 : IP뱅크
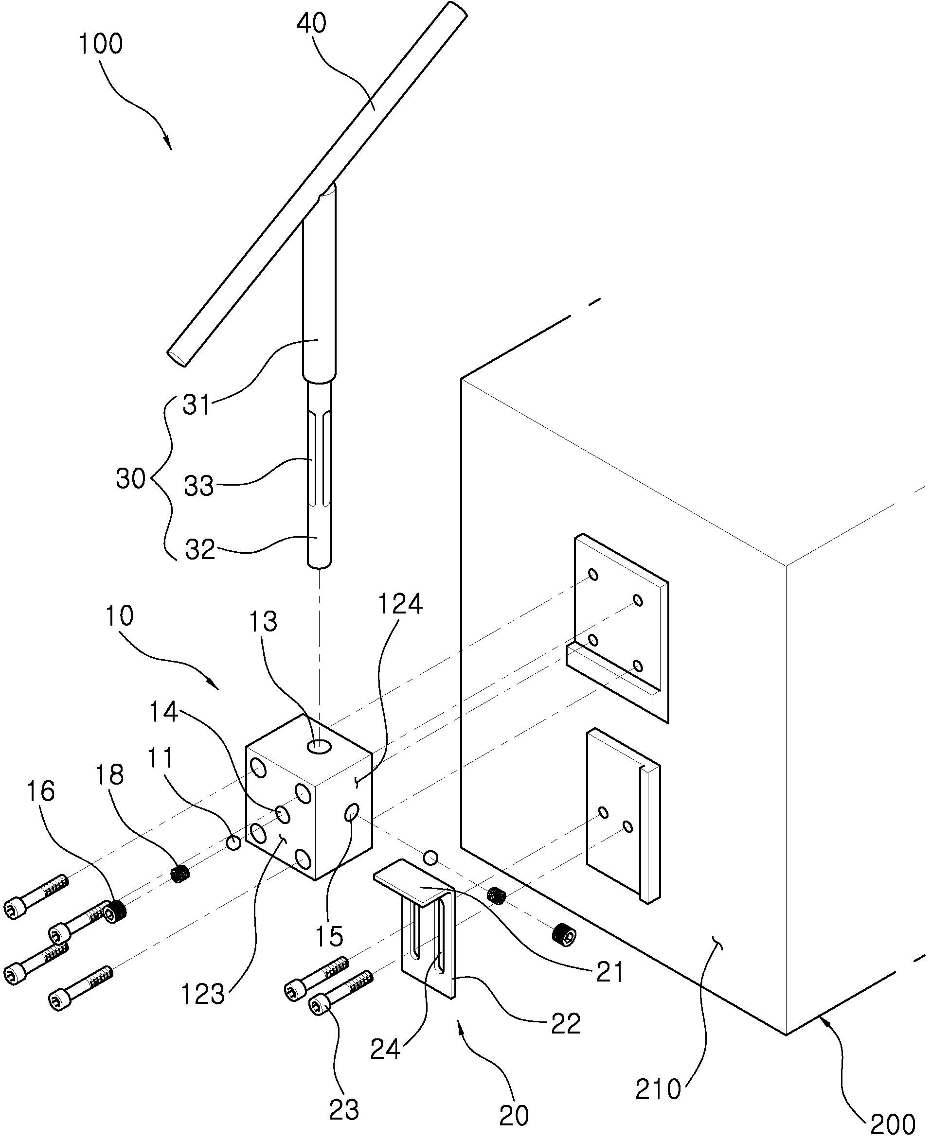
본 발명은 원터치 세팅용 스키드바 장치에 관한 것으로, 그 목적은 금형의 이동 및 제품 미생산시, 작업자가 이동바의 위치셋팅작업을 간편하게 조작 및 설정할 수 있는 원터치 세팅용 스키드바 장치를 제공하는 것이다.
본 발명은 금형의 하형 일측면에 연결설치되어 제품을 배출시키는 스키드바 장치에 있어서; 상기 스키드바 장치는, 하형 일측면에 고정설치되고 내부에 볼스프링이 설치된 위치조절부와, 상기 위치조절부의 하부에 위치하고 상하 이동조절이 가능하도록 하형 일측면에 연결설치되는 높이조절부와, 상기 위치조절부를 관통하여 하단이 높이조절부에 접촉지지되고, 위치조절부내 볼스프링과의 접촉에 의해 회전이 방지되어 위치가 고정되는 지지봉과, 상기 지지봉의 상단에 소정각도를 구비하도록 경사지게 설치되는 이동바를 포함하여, 작업자에 의해 이동바의 위치가 90°회전가능하도록 되어 있다.





