...
, ,

프레스 슬라이드의 높이 측정 장치(APPARATUS FOR MEASURING HEIGHT OF SLIDE IN MECHANICAL PRESS)

판매 대리인 : 기율특허

전화번호 : 02-782-1004

메일주소 : kiyul@kiyul.co.kr

가격 : 협의

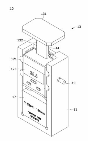
프레스 슬라이드의 높이 측정 장치

← 뒤로

응답해 주셔서 감사합니다. ✨

SKU: 아이피뱅크 주식회사 카테고리: , ,

출원번호 : 10-2018-0118842 (2018.10.05)

등록번호 : 10-19524050000 (2019.02.20)

요약 : 본 발명은 프레스 슬라이드의 높이 측정 장치에 관한 것이다.

1020180118842B1