출원번호 : 10-2018-0014986 (2018.02.07)
등록번호 : 10-20789090000 (2020.02.12)
등록권리자 : 신한대학교 산학협력단
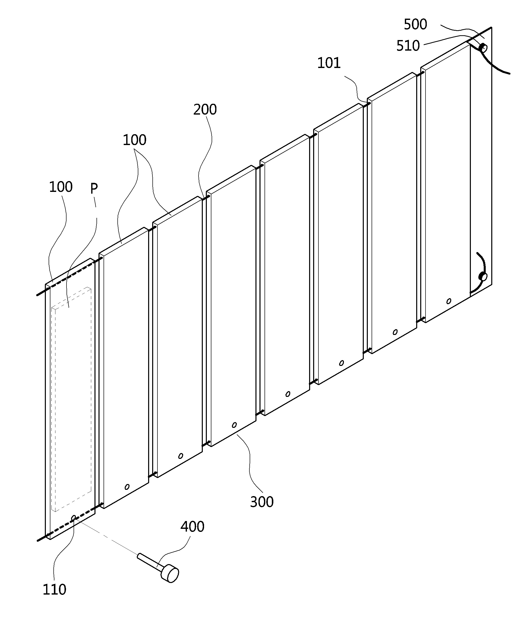
본 발명은 차폐부재가 실장되고 하단에는 결합공이 관통된 복수의 차폐모듈; 상기 복수의 차폐모듈 상단을 상호 연결하는 상부와이어; 상기 복수의 차폐모듈 하단을 상호 연결하는 하부와이어; 및 동축상에 배치된 상기 복수의 차폐모듈 각각의 결합공에 탈부착 가능하게 체결되는 결합축;을 포함하며, 상기 결합축이 복수의 차폐모듈 각각의 결합공에 체결되면 복수의 차폐모듈을 호의 형상으로 전개할 수 있는 것을 특징으로 한다.
1020180014986





