출원번호 : 10-2012-0014293 (2012년02월13일)
등록번호 : 10-1192866 (2012년10월12일)
특허권자 : 배재대학교 산학협력단
요약 :
본 발명은 란타늄을 포함하는 화합물, 전이금속원소의 질산염, 분산용매, 킬레이트제 및 폴리비닐피롤리돈을 혼합한 용액을 반응시켜 제조된 분말의 란탄계 페로브스카이트형 산화물을 포함하는 가스센서용 조성물을 제공한다.
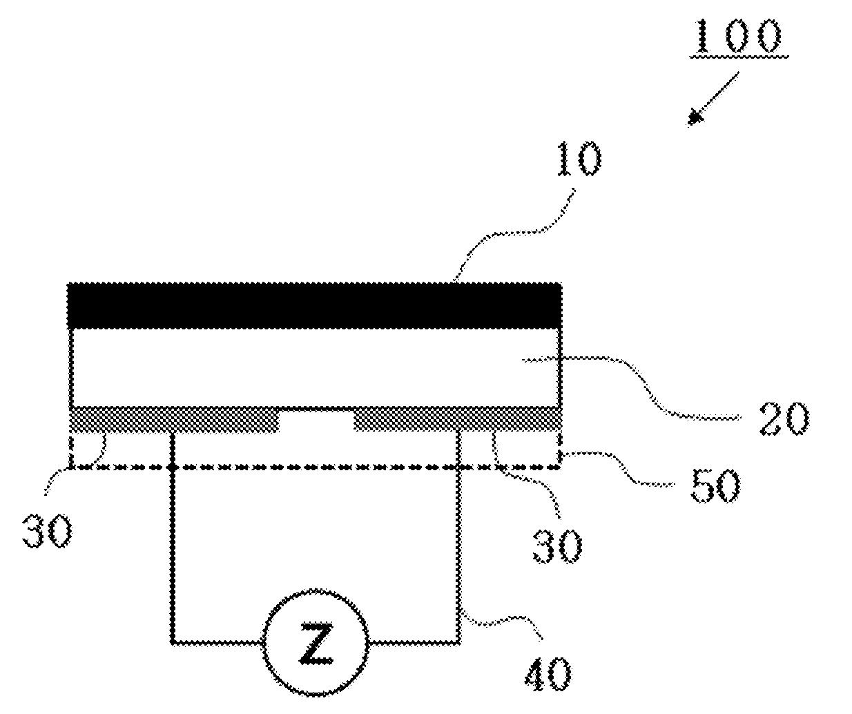
본 발명의 질소산화물 센서(100)는 상기 란탄계 페로브스카이트형 산화물(10); 상기 리튬이온 고체전해질(20); 상기 리튬이온 고체전해질 하부면에 대칭적으로 형성되는 금속 전극(30); 상기 대칭적으로 형성된 금속 전극(30)을 전기적으로 연결하고 연장되는 임피던스 리드선(40); 상기 대칭적으로 형성된 금속 전극(30)이 피검가스로부터 영향을 받지 않도록 덮은 무기계 접착제(50)로 이루어지고 있는 것을 특징으로 한다.
본 발명은 질소산화물 센서에 관한 것으로서, 일산화질소 및 이산화질소에 대한 센서 신호의 출력을 임피던스 값으로 하여 저항성분과 캐패시턴스 성분을 측정할 수 있고 민감도를 높이고 선택성과 응답속도를 향상시킬 수 있는 개선된 측정방법을 제공하는 질소산화물 센서에 관한 것이다.
이에 따라, 본 발명의 질소산화물 센서는 단순한 센서소자 구조를 가지고 있어서 저렴하고 마이크로 소자를 제조하는 방법을 제공한다.
1020120014293





