출원번호 : 10-2018-0159440 (2018.12.11)
등록번호 : 10-20577930000 (2019.12.13)
등록권리자 : 신한대학교 산학협력단
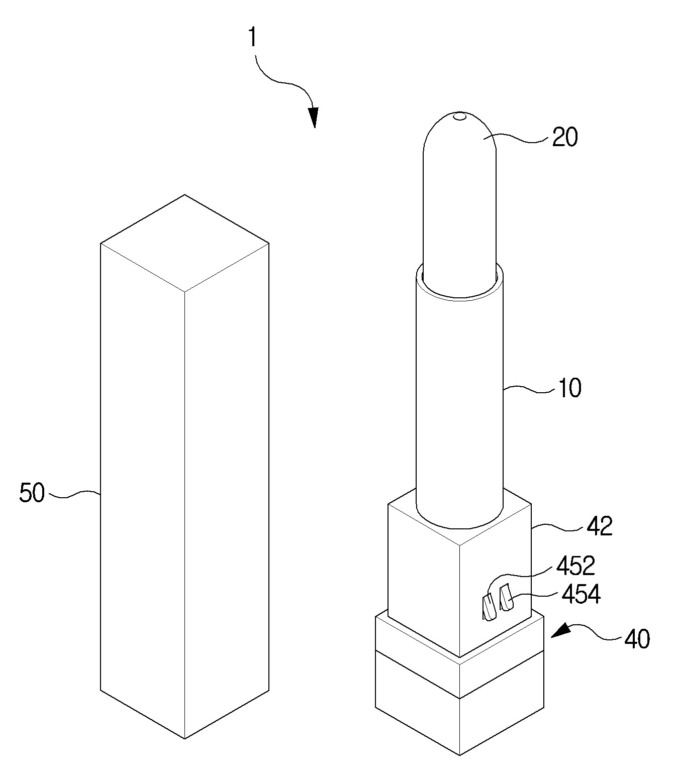
일단부는 개방되고 타단부는 폐쇄되며, 고체형의 화장품이 승하강 홀더부재에 고정된 상태로 내부에 위치되는 실린더부; 상기 실린더부의 타단부에 접하도록 하측에 배치되며 내부에 용기부가 수용되는 몸체부; 및 일단부는 폐쇄되고 타단부는 개방되며, 개방된 타단부가 상기 몸체부의 뚜껑 결합부에 분리 가능하게 결합되는 뚜껑부;를 포함하는 화장품 용기로서, 상기 실린더부는, 내측면에 수직 방향으로 형성되며 상기 고체형의 화장품 및 상기 승하강 홀더부재의 측면에 형성된 홈에 삽입되어 상기 승하강 홀더부재의 이동을 안내하는 하나 이상의 리브;를 더 포함하고, 상기 몸체부는, 상기 용기부의 상측으로부터 수직으로 연장되고 상기 몸체부의 상단부를 지나 상측으로 수직으로 연장되어 상기 용기부의 내부와 연통되는 배출관;을 더 포함하며, 상기 배출관의 상기 몸체부의 상단부를 지나 상측으로 수직으로 연장된 부분의 외주연에는 수나사 형태의 스크루부가 형성되고, 상기 스크루부는, 상기 실린더부의 폐쇄된 타단부를 관통해 상기 승하강 홀더부재외 나사결합되며, 상기 몸체부와 함께 회전하면서 상기 승하강 홀더부재를 밀어올려 상기 고체형 화장품을 상기 실린더부의 일단부 밖으로 인출하거나 상기 실린더부 내부로 인입시키는 구성을 마련함으로써, 고체형의 립스틱과 겔형의 립글로스를 선택적으로 또는 순차적으로 사용할 수 있는 다용도 화장품 용기를 제공할 수 있게 된다.
1020180159440





