출원번호 : 10-2014-0017398 (2014.02.14)
등록번호 : 10-15951720000 (2016.02.11)
특허권자 : 한남대학교산학협력단
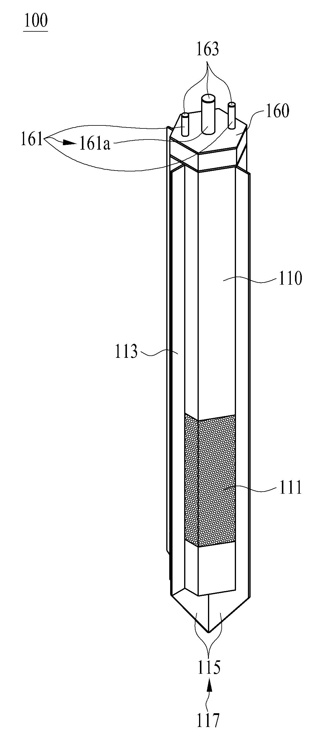
요약 : 매몰지 안정화용 수직 웰 유닛이 개시된다. 본 발명에 따른 매몰지 안정화용 수직 웰 유닛은, 외측수직관의 하면에 뾰족부가 형성되므로, 외측수직관을 매몰지에 용이하게 삽입 설치할 수 있는 효과가 있다. 그리고, 내측수직관을 통하여 미생물이 함유된 슬러지를 주입할 수 있고, 매몰층의 침출수의 시료를 채취할 수 있으며, 매몰층의 침출수의 수위를 측정할 수 있고, 매몰층의 침출수를 재순환시킬 수 있다. 그러므로, 다양한 용도로 사용할 수 있는 효과가 있다.
1020140017398





