...

[USA] Protective case for a mobile terminal 이동 단말기용 보호 케이스

판매 대리인(Sales Agent) : 기율특허(Kiyul Paten)

전화번호(Phone number) : 02-782-1004

메일주소(Email address) : kiyul@kiyul.co.kr

판매특허요약(Patent Sale Summary) : [USA] Protective case for a mobile terminal 이동 단말기용 보호 케이스

가격(Price) : 가격 협의(Negotiable)

SKU: 신승민 카테고리:

출원번호(Application number) : 15/823438 (2017.11.27)

등록번호(Registration number) : 10594352 B2 (2020.03.17)

특허권자(Patentee) : Seung Min Shin

요약(Summary) :

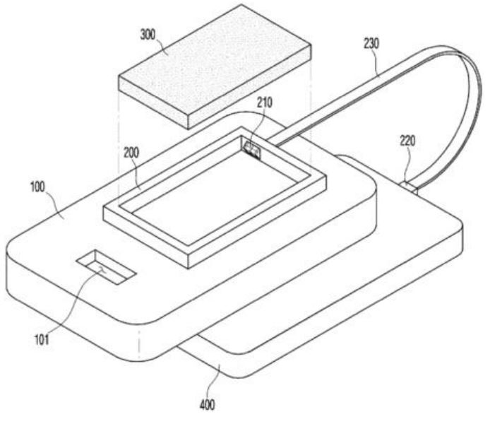
본 발명은 이동 단말기를 위한 보호 케이스를 제공하며, 상기 보호 케이스는 다음을 포함한다. 상자 형상을 가지고, 이동 단말기를 둘러싸고 보호하는 이동 단말기 케이스. 상기 이동 단말기 케이스의 후면 외부에 위치되고, 보조 배터리를 수용하기 위한 공간을 정의하는 보조 배터리 케이스. 상기 이동 단말기 케이스의 내부 표면 상에 배치되고, 상기 이동 단말기의 외부 단자와 전기적으로 접촉하는 이동 단말기 측면 접촉 단자. 상기 보조 배터리 케이스의 내부 표면상에 배치되고, 상기 보조 배터리의 외부 단자와 전기적으로 접촉하는 보조 배터리 측면 접촉 단자는 상기 이동 단말기 측면 접촉 단자와 상기 보조 배터리 측 접촉 단자를 전기적으로 연결하는 연결 케이블을 통해 상기 이동 단말기에상기 보조 배터리의 전력이 공급된다.

발명자설명 : 전용실시권 라이선스 가능합니다. 매입을 하시려면 국내특허와 함께 묶는게 좋습니다.

** 국내/미국 특허보다 청구항이 좀 더 포괄적으로 열려있어서 방어에 유리합니다.

특허특징을 확인하시려면 네이버쇼핑에서 ‘안티오프 파워케이스’ 검색 후 참고하세요.

  • 마찬가지로 당시 특허 침해한 중국업체 상품을 통해 본 특허의 가치를 가름해 보시기 바랍니다. 구글검색어 “plenbo”

This text describes a patent related to a protective case for a mobile terminal, which includes features such as a box-shaped case surrounding and protecting the mobile terminal, a space on the back external side of the case for accommodating an auxiliary battery, side contact terminals on the internal surface of the case that electrically contact the external terminals of the mobile device, and side contact terminals on the internal surface of the auxiliary battery case that electrically contact the external terminals of the auxiliary battery. Power from the auxiliary battery is supplied to the mobile device through a connecting cable that electrically connects the side contact terminals of the mobile device and the auxiliary battery.

The inventor suggests that a dedicated license is available, and if you are interested in acquiring it, it is recommended to bundle it with domestic patents for better defense. The patent is described as having more inclusive claims than domestic/US patents, providing an advantage in defense.

For further confirmation of patent features, a Naver Shopping search for “안티오프 파워케이스” (Anti-Off Power Case) is recommended.

It also mentions checking the value of the patent by examining products from Chinese companies that may have infringed on the patent at the time. A Google search for “plenbo” may provide additional information.

If you have any questions or if you are interested in buying/selling this patent, please contact us at the email address kiyul@kiyul.co.kr

T_us00010594352b2p