출원번호 : 10-2013-0023528 (2013.03.05)
등록번호 : 10-14163070000 (2014.07.01)
특허권자 : 군산대학교산학협력단
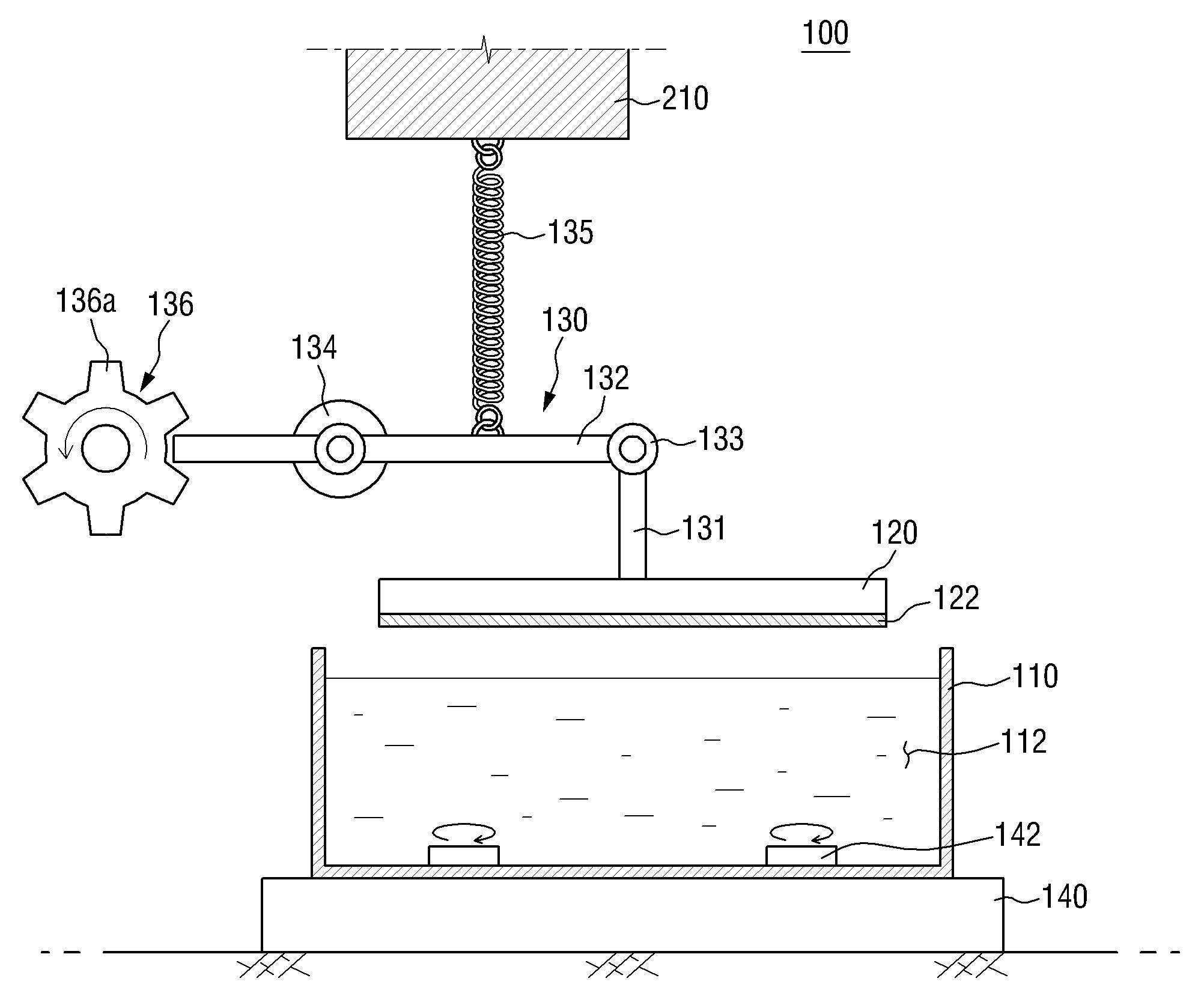
요약 : 화학 용액 적층 기술이 구현된 박막 형성 장치 및 이를 이용한 박막 형성 방법이 제공된다. 박막 형성 장치는 화학 용액 수조, 화학 용액 수조 상부에 배치되며, 대상 기판을 지지하는 기판척, 및 기판척을 상하 방향으로 이동시키는 기판척 이동부를 포함한다.
1020130023528




