...
, ,

병마개 (A BOTTLE CAP)

3,500,000

판매 대리인 : 기율특허

전화번호 : 02-782-1004

메일주소 : kiyul@kiyul.co.kr

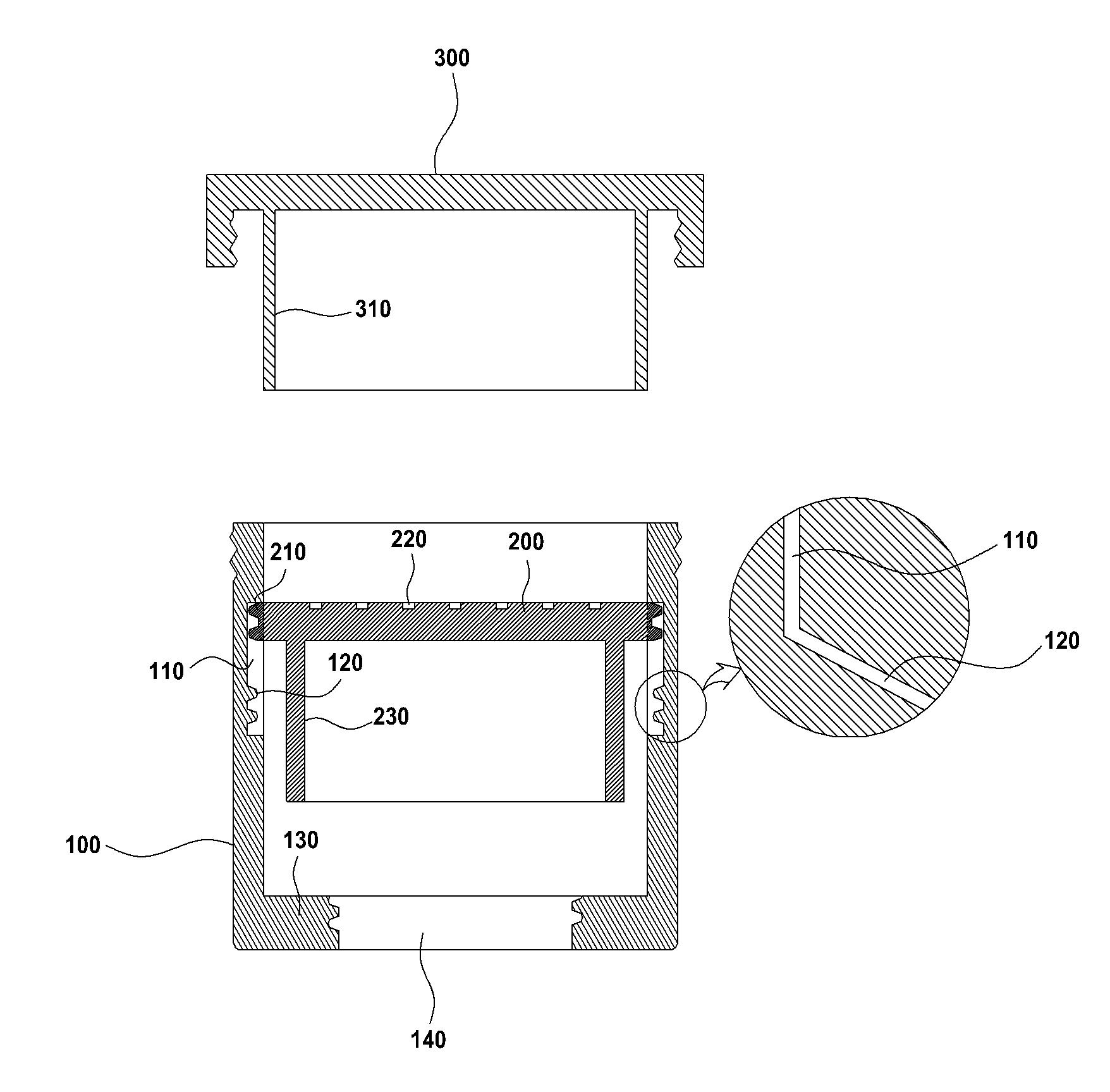
본 발명은 병마개에 관한 것으로, 보다 상세하게는 뚜껑을 개방한 상태에서 장시간이 경과하여도 김이 빠지지 않고 기밀유지가 가능하면서 오래보관할 때는 완전밀봉이 가능하여 특히, 탄산 등이 새어나가지 않아 구매 당시의 탄산함유 효과를 그대로 구현할 수 있을 뿐만 아니라, 병주둥이의 크기가 표준화된 액체 저장용 병에는 모두 적용할 수 있는 분리형 병마개에 관한 것이다.

가격 : 350만원

← 뒤로

응답해 주셔서 감사합니다. ✨

SKU: 신한대학교 산학협력단 카테고리: , ,

출원번호 : 10-2017-0036065 (2017.03.22)

등록번호 : 10-19223300000 (2018.11.20)

등록권리자 : 신한대학교 산학협력단

본 발명은 병마개에 관한 것으로, 보다 상세하게는 뚜껑을 개방한 상태에서 장시간이 경과하여도 김이 빠지지 않고 기밀유지가 가능하면서 오래보관할 때는 완전밀봉이 가능하여 특히, 탄산 등이 새어나가지 않아 구매 당시의 탄산함유 효과를 그대로 구현할 수 있을 뿐만 아니라, 병주둥이의 크기가 표준화된 액체 저장용 병에는 모두 적용할 수 있는 분리형 병마개에 관한 것이다.

1020170036065