출원번호 : 10-2021-0037165 (2021년03월23일)
등록번호 : 10-2244322 (2021년04월20일)
특허권자 : 한경대학교 산학협력단
요약 :
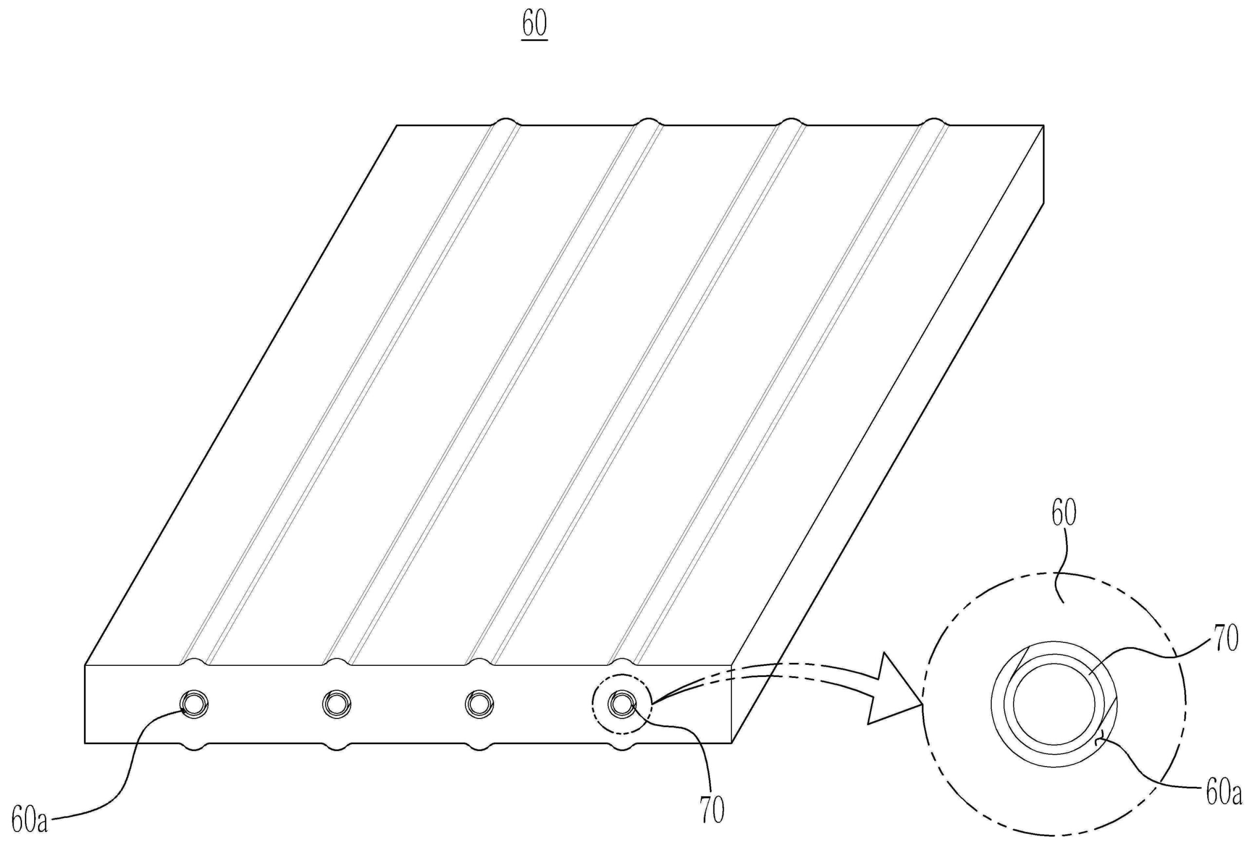
본 발명의 일 실시예에 따른 복합소재 제조방법은, 제1 프리프레그층을 안착시키는 단계, 상기 제1 프리프레그층 위에 튜브를 배치하는 단계, 형상기억합금 와이어의 표면에 윤활제를 코팅하는 단계, 상기 튜브 내부에 상기 코팅된 형상기억합금 와이어를 개재하는 단계, 상기 튜브 위로 제2 프리프레그층을 배치하는 단계, 상기 제2 프리프레그층 상에 분리층을 형성하는 단계, 상기 제1 프리프레그층 및 상기 제2 프리프레그층에 진공백을 덮는 단계, 상기 제1 프리프레그층과 상기 제2 프리프레그층을 가압하여 압착시키는 단계 및 압착된 상태에서 상기 진공백 내부에 진공을 형성하는 진공단계를 포함할 수 있다.





