...
,

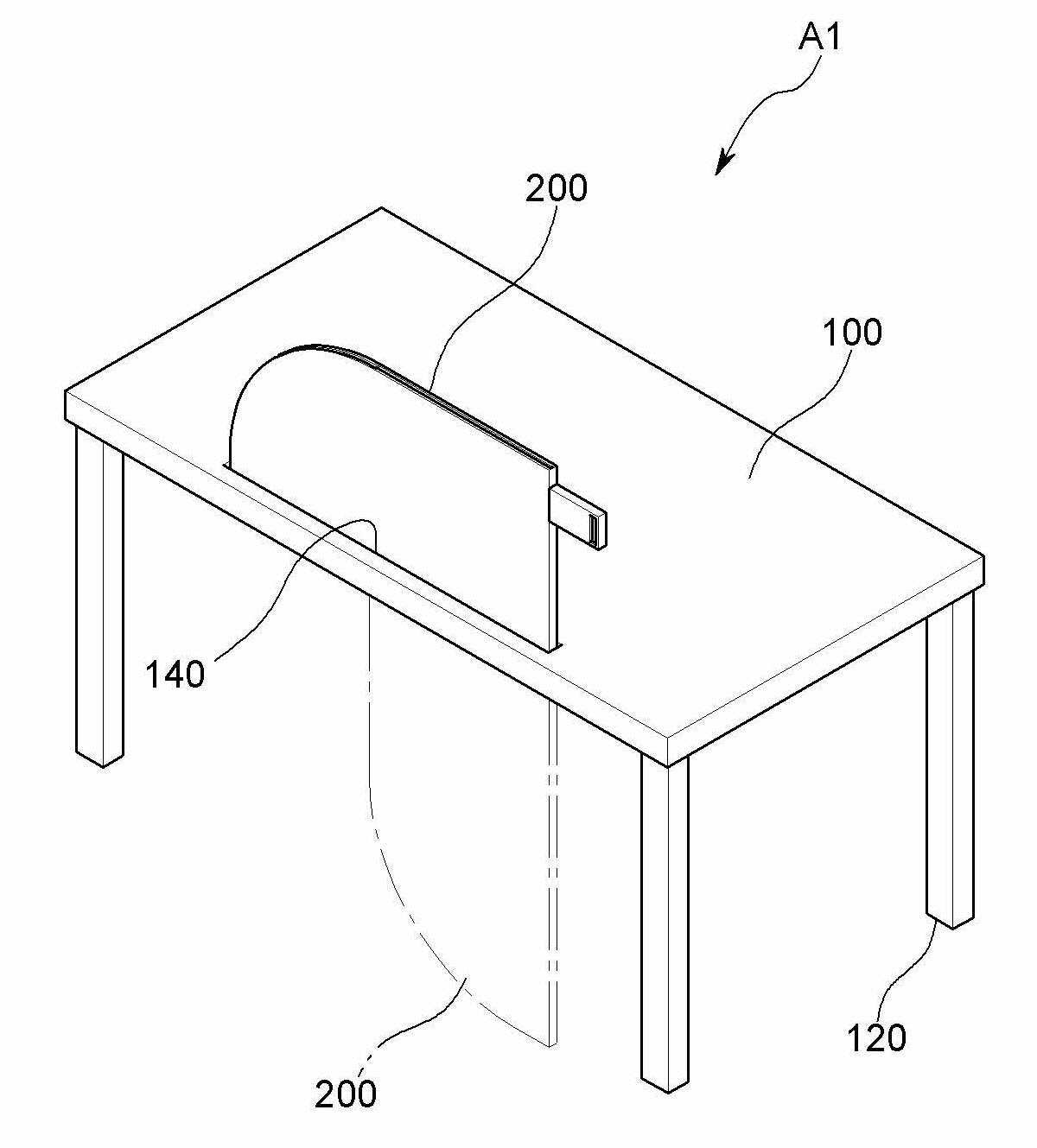
비말차단 가림판 내장형 책상 Desk with built-in droplet blocking screen

판매 대리인 : 기율특허

전화번호 : 02-782-1004

메일주소 : kiyul@kiyul.co.kr

판매특허요약 : 본 발명은 비말차단 가림판 내장형 책상에 관한 것이다.

가격 : 가격협의

← 뒤로

응답해 주셔서 감사합니다. ✨

SKU: 최신영, 유진복, 유수민 카테고리: ,

출원번호 : 10-2022-0032963 (2022년03월16일)

등록번호 : 10-2414928 (2022년06월27일)

특허권자 : 최신영, 유진복, 유수민

요약 :

본 발명은 비말차단 가림판 내장형 책상에 관한 것으로, 가림판이 구비되는 책상에 있어서, 지면에 지지되는 복수개의 지주와, 상기 복수개의 지주의 상단에 장착된 상판을 포함하고, 상기 상판의 일측에 형성되는 슬릿홈과, 상기 슬릿홈에 삽입된 가림판; 상기 가림판을 상하방향으로 회전시켜 슬릿홈으로부터 인출 또는 인입시키도록 슬릿홈의 일측에 구비된 회전구동부; 상기 슬릿홈의 타측에 구비되어 가림판의 인출 후 록킹상태를 유지토록 하는 록킹부재;를 포함한다.

 

1020220032963