출원번호 : 10-2021-0136587 (2021.10.14)
등록번호 : 10-24668940000 (2022.11.09)
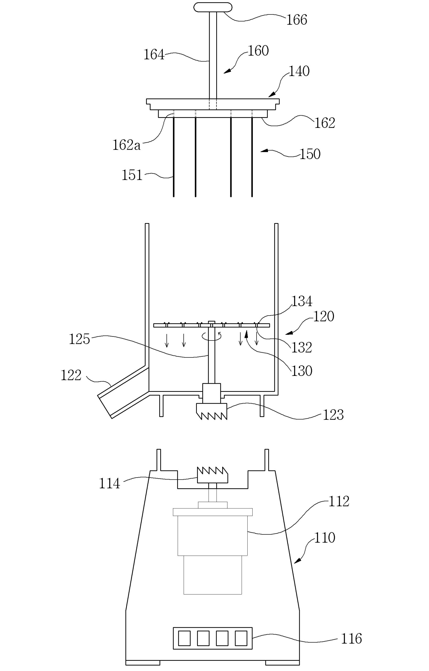
요약 : 양파 전용 생즙기가 개시된다. 개시된 양파 전용 생즙기는, 내부에 전동모터가 내장되고, 상면 중앙에는 상기 전동모터의 구동축에 연결되어 회전되도록 구성되는 하부클러치가 구성된 본체부; 상부가 개방된 원통형상으로 이루어져 내부에 양파를 수용가능한 공간을 제공하고, 하단 중심에는 상기 하부클러치와 연결되는 상부클러치를 구비하고, 상기 상부클러치로부터 상부로 수직하게 소정높이 연장되는 회전축을 구비한 용기부; 상기 용기부 내부에 수용되고, 상기 회전축의 상단에 중심이 결합되어 회전되도록 구성되며, 상면에 밀착접촉된 양파를 갈아 양파생즙을 생성하고, 생성된 양파생즙은 상기 용기부의 저부로 배출시키는 회전강판; 상기 용기부의 개방된 상단을 덮는 뚜껑부; 상기 뚜껑부의 하단으로부터 하부로 연장형성되며 양파에 꽂아서 양파를 관통함으로써 양파의 회전을 방지하고 상하 직선 이동을 안내하는 양파가이드부; 상기 양파가이드부를 따라 상하 이동가능하도록 구성되어, 상기 양파가이드부에 꽂혀 있는 양파를 상기 회전강판 쪽으로 밀어 양파가 상기 회전강판에 의해 갈리도록 하는 푸쉬수단;을 포함하는 것을 특징으로 한다.





