출원번호 : 10-2013-0082393 (2013년07월12일)
등록번호 : 10-1508767 (2015년03월27일)
특허권자 : 한밭대학교
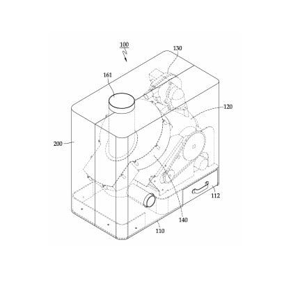
요약 : 본 발명은 음식물 쓰레기 처리장치에 관한 것으로서, 음식물 쓰레기가 투입되고 음식물 쓰레기로부터 수분을 걸
러내는 여과통; 상기 여과통의 하부에 설치되어 수분이 걸러진 음식물 쓰레기가 투입되고 분쇄스크류로서 음식물
쓰레기를 분쇄하여 배출시키는 분쇄통; 및 상기 분쇄통에 연통되게 설치되어 악취를 외부로 강제 배기시키는 블
로워유닛;을 포함하는 음식물 쓰레기 처리장치를 제공한다.





