...
,

임베디드 CPU-GPU 분산처리를 이용한 영상처리 고속화 방법 Method for Speeded up image processing using distributed processing of embedded CPU and GPU

판매 대리인 : 기율특허

전화번호 : 02-782-1004

메일주소 : kiyul@kiyul.co.kr

판매특허요약 : 임베디드 CPU-GPU 분산처리를 이용한 영상처리 고속화 방법에 관한 것

가격 : 협의가능

SKU: 한밭대학교 산학협력단 카테고리: ,

출원번호 : 10-2015-0005655 (2015년01월13일)

등록번호 : 10-1736041 (2017년05월10일)

특허권자 : 한밭대학교

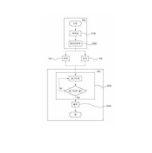
요약 : 임베디드 CPU-GPU 분산처리를 이용한 영상처리 고속화 방법에 관한 것으로서, 더욱 상세하게, 임베드디 및 모바
일 환경에서 영상처리를 함에 있어 CPU와 GPU사이에 복수의 버퍼를 구비하고 복수의 버퍼에 번갈아가며 데이터를
저장 및 읽기를 통해 손실 및 중복되는 프레임이 없게 하며, CPU-GPU의 분산처리 및 GPU의 다중알고리즘 구조를
통해 영상처리의 효율성을 높이는 임베디드 CPU-GPU 분산처리를 이용한 영상처리 고속화방법에 관한 것이다.

172