...
,

자기정렬 액정 배향층, 이를 이용한 액정표시장치 및 이의 제조방법(SELF-ASSEMBLED LIQUID CRYSTAL ALIGNMENT LAYER, LIQUID CRYSTAL DEVICE USING THE SAME AND METHOD FOR MANUFACTURING LCD USING THE SAME)

판매 대리인 : 기율특허

전화번호 : 02-782-1004

메일주소 : kiyul@kiyul.co.kr

가격 : 가격협의

SKU: 명지대학교 산학협력단 카테고리: ,

출원번호 : 10-2017-0023177 (2017년02월21일)

등록번호 : 10-1974162 (2019년04월24일)

특허권자 : 명지대학교 산학협력단

요약 :

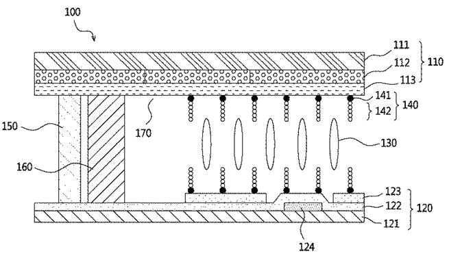
본 발명은 액정 배향층 및 이를 이용한 수직 배향 액정표시장치 제조방법에 관한 것으로, 더욱 상세하게는 수소 결합을 통해 액정층의 액정분자들을 균일하게 수직 배향할 수 있는 액정 배향층 및 이를 이용한 액정표시장치의 제조방법에 관한 것이다.

본 발명에 따른 액정 배향층 및 액정표시장치는 기판과 결합할 수 있는 수소 결합 단위를 포함하는 지방족 유기분자를 적용함으로써 기존의 폴리이미드 배향막없이 액정분자들을 균일하게 배열할 수 있고 우수한 전기광학특성을 구현할 수 있다. 또한, 기존 폴리이미드 배향막이 적용된 액정표시장치에 비해 더 높은 문턱 전압값(threshold voltage, Vth)을 구현할 수 있으며, 라이징 타임과 풀링 타임이 2~4배 정도 빨라지는 개선된 수준의 액정 반응속도를 구현할 수 있다.

1020170023177B1