출원번호 : 10-2012-0025549 (2012년03월13일)
등록번호 : 10-1172873 (2012년08월03일)
특허권자 : 배재대학교 산학협력단
요약 :
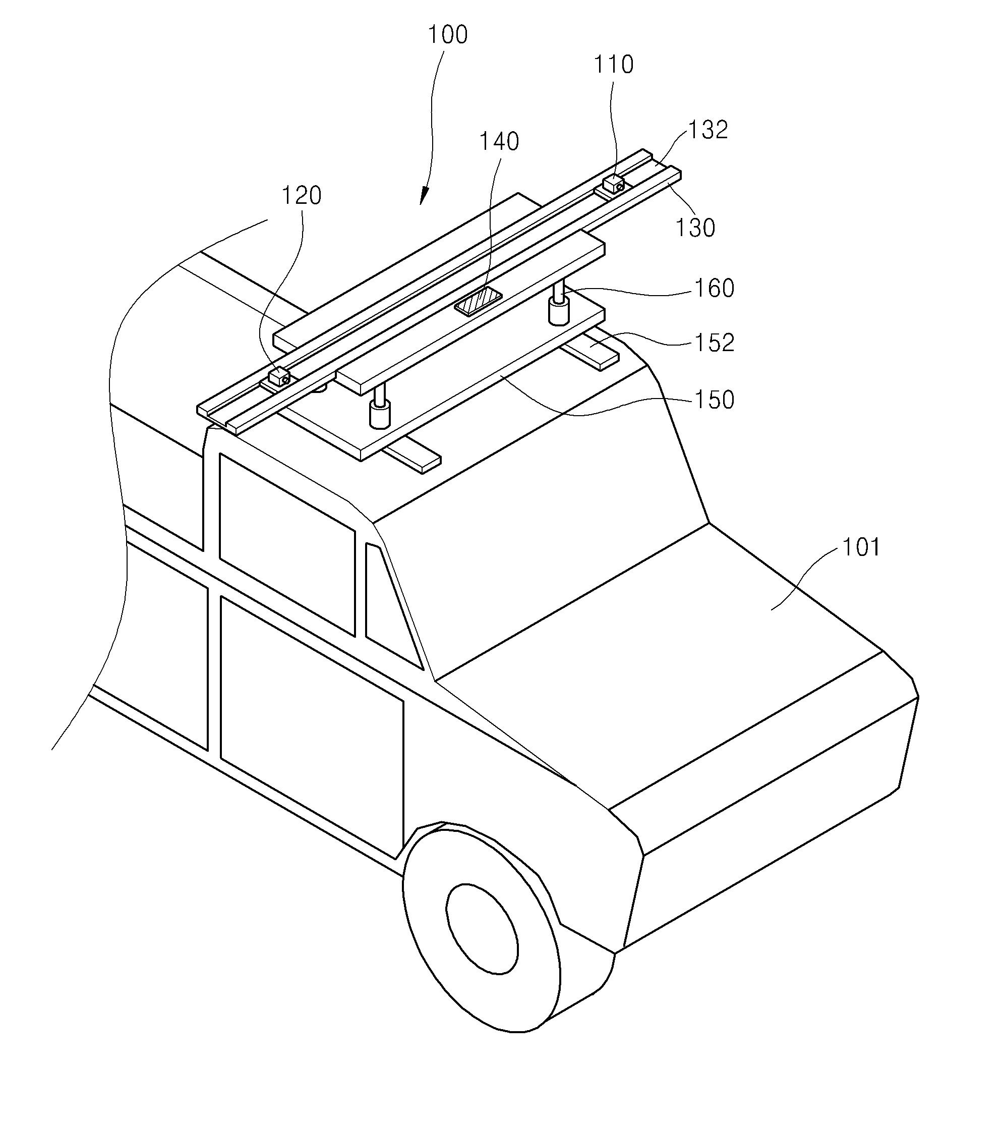
본 발명의 일 실시예에 따른 터널 및 사면 조사용 입체 영상 촬영 장치는 제1 및 제2 카메라; 상기 제1 및 제2 카메라의 장착을 위한 복수의 장착부를 구비하고, 수평 방향으로 배치되는 수평판; 상기 수평판에 형성되어 상기 수평판의 수평 상태를 표시하는 수평 센서; 차량의 지붕에 고정 설치되는 베이스판; 및 상기 베이스판의 상부에 고정 설치되어 상기 수평판을 지탱하고, 수직 방향으로 승강 또는 하강 동작하여 상기 수평판의 수평을 유지하는 복수의 높이 조절축을 포함하고, 상기 제1 및 제2 카메라는 상기 수평 센서에 의해 상기 수평판이 수평 상태인 것으로 표시될 때 터널 막장 또는 사면을 촬영한다.
1020120025549





