출원번호 : 10-2018-0105637 (2018년09월05일)
등록번호 : 10-2051901 (2019년11월28일)
특허권자 : 주식회사 에이스타하이테크
요약 :
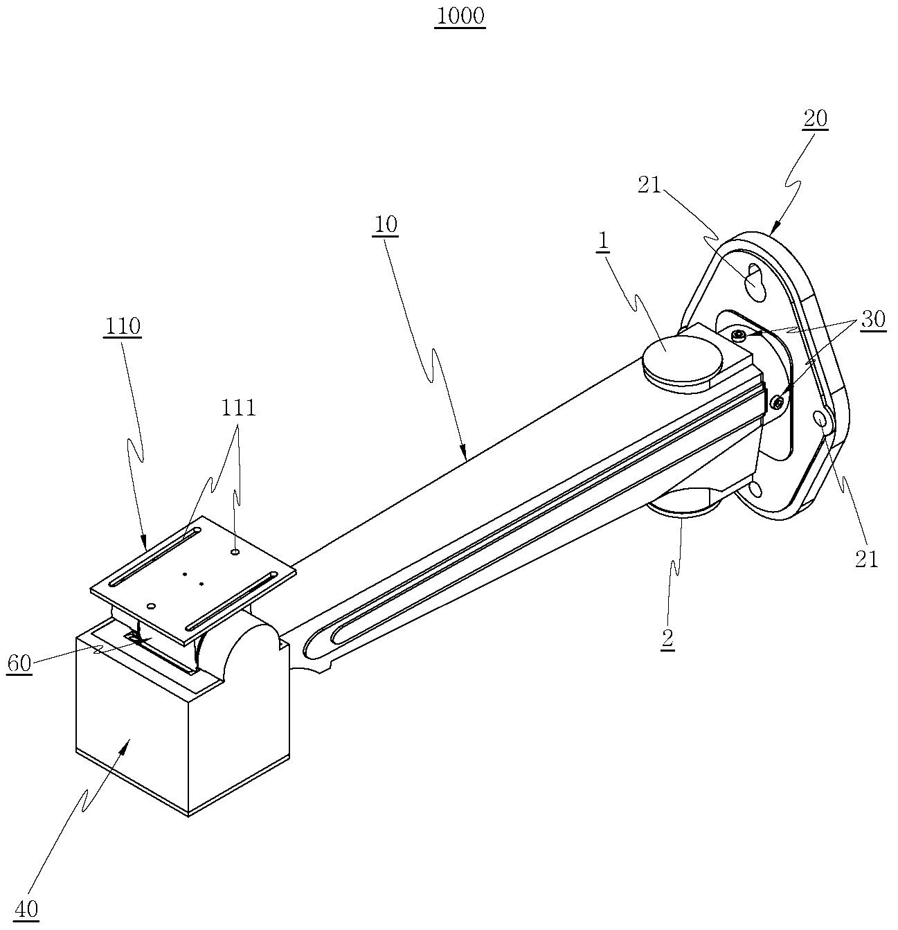
본 발명은 팬틸트형 브라켓을 이용한 카메라 제어시스템에 관한 것으로, 중공을 내부에 구성하며 상, 하측에는 제1, 2마개에 의해 개폐되는 제1, 2관통홀을 형성하는 몸체, 외주면에 복수 개의 결합홀을 구성하여 몸체의 일측에 일체로 형성되는 제1중공축을 구성한 설치대와, 상기 제1중공축에 삽입되는 제2중공축을 일체로 구성하여 벽면에 체결되는 장착대와, 상기 제2중공축을 가압하도록 제1중공축에 결합홀에 각각 결합되어 설치대와 장착대를 결합시키는 결합볼트와, 중공과 연통되도록 설치대의 전방에 일체로 형성되되, 하부에는 안착부를 구성하고, 상기 안착부와 연통하는 제1, 2결합홈을 양측 상부에 형성하는 회동결합부를 구성한 설치하우징과, 제1, 2모터에 의해 구동되는 제1, 2구동부를 구성하여 상기 설치하우징의 안착부에 고정설치되는 구동수단과, 제1, 2결합홈에 대응되는 제1, 2끼움홀을 관통형성하여 설치하우징의 회동결합부 사이에 위치되는 수평연결관, 상기 제1, 2끼움홀에 연통되는 삽입홀을 상부에 형성하는 수직연결관을 구성한 회동연결부와, 상기 설치하우징의 제1결합홈과 수평연결관의 제1끼움홀에 연결된 상태로, 제1구동부에 의해 연동하는 제1회동기어를 구성한 제1연동작동부와, 상기 설치하우징의 제2결합홈과 수평연결관의 제2끼움홀에 연결된 상태로 제2구동부에 의해 연동하는 연동수단을 구성한 제2연동작동부와, 상기 수직연결관의 삽입홀에 삽입되어 제1, 2연동작동부와 결합되는 결합구와, 상기 결합구에 회동가능하게 결합되어 연동수단과 연동하는 제2베벨기어와, 카메라 장착을 위하여 상기 제2베벨기어에 볼트결합되어 설치되는 장착플레이트로 구성된 카메라브라켓;을 포함하여 이루어져, 상기 제1, 2마개의 선택적인 탈착 또는 제1, 2마개의 절개를 통해, 벽면을 통과하여 설치대의 몸체 내부로 수용된 케이블을 현장 상황에 따라 제1, 2관통홀로 선택적으로 통과시킬 수 있음과 더불어, 카메라브라켓에 장착되는 카메라를 상하좌우로 회동제어할 수 있도록 된 것을 특징으로 한다.
1020180105637



