출원번호 : 10-2015-0135503 (2015년09월24일)
등록번호 : 10-1802598 (2017년11월22일)
특허권자 : 한밭대학교
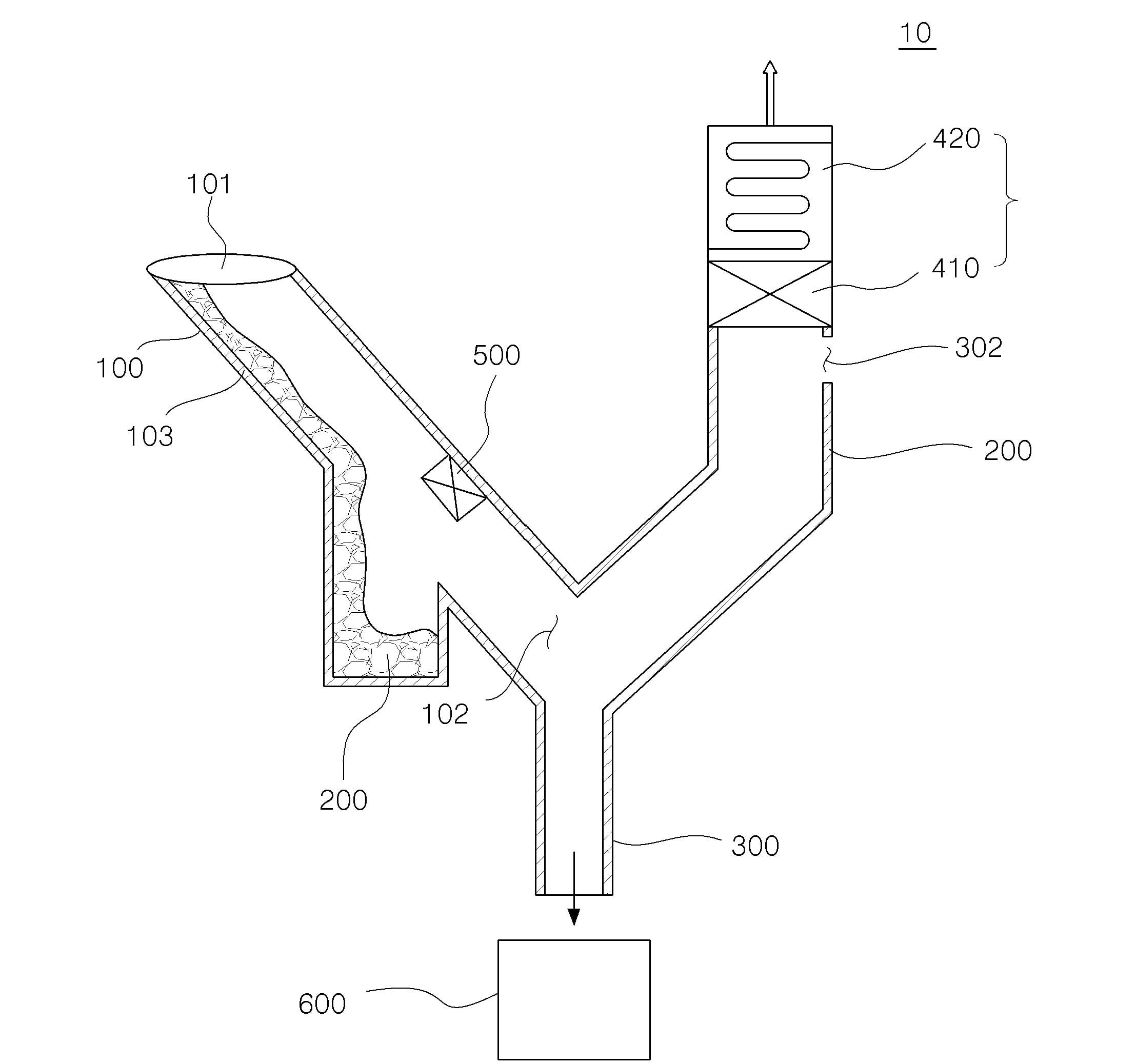
요약 : 본 발명에 따른 폐수슬러지 용융 및 폐열 회수 장치는, 중금속이 포함된 폐수슬러지를 용융시키고, 상기 폐수슬
러지로부터 방출되는 폐열을 회수하는 폐수슬러지 용융 및 폐열 회수 장치에 있어서, 상단에 상기 폐수슬러지가
인입되는 인입부가 형성되고, 하단에 상기 폐수 슬러지로부터 생성되는 슬래그가 배출되는 슬래그배출부가 형성
되며 하향으로 경사지도록 배치되는 제1관로; 상기 제1관로의 내부에 배치되어 상기 인입되는 폐수슬러지를 용융
시키는 용탕; 상기 제1관로의 상기 용탕의 하측으로부터 상향으로 분기되어, 상단에 상기 폐수슬러지에서 생성되
는 배가스가 배출되는 배가스배출부가 형성된 제2관로; 및 상기 제2관로의 내부에 배치되어, 상기 배가스의 열
을 회수하는 열교환부를 포함한다. 이러한 본 발명에 따른 폐수슬러지 용융 및 폐열 회수 장치에 의하면,상기 인
입부로 인입되는 폐수슬러지가 상기 제1관의 경사에 의하여 그 내부를 타고 흐르면서, 순차적으로 건조, 열분해
및 용융 과정을 거치도록 하여, 작동이 간편하고 설비의 규모를 줄일 수 있다.또한 용탕에서 발생하는 배가스를
유출 없이 효과적으로 열교환부에 전달할 수 있어 폐열의 회수 효율을 높일 수 있다.





