출원번호 : 10-2016-0182593 (2016.12.29)
등록번호 : 10-18752930000 (2018.06.29)
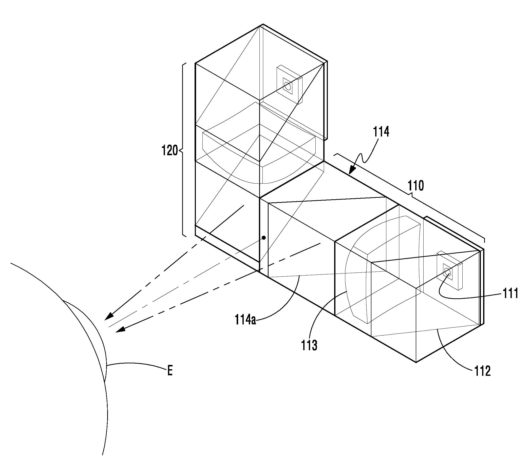
요약 : 본 발명에 따른 허상 투영 디스플레이용 광학장치는 안구의 전방 일측에서 이미지를 제공하는 제1광학부; 및 안구의 전방 타측에서 이미지를 제공하는 제2광학부;를 포함하며, 상기 제1광학부와 제2광학부는 이미지를 표시하는 영상소자와, 상기 영상소자의 광 진행방향에 배치되어 이미지를 확대하는 확대렌즈 및 안구의 전방에 배치되어 안구 전방으로부터 제공되는 입사광은 투과하고 상기 영상소자로부터 제공되는 이미지는 안구방향으로 반사하는 반사부를 포함하는 것을 특징으로 한다.





