출원번호 : 10-2013-0155402 (2013년12월13일)
등록번호 : 10-1528463 (2015년06월08일)
특허권자 : 한밭대학교
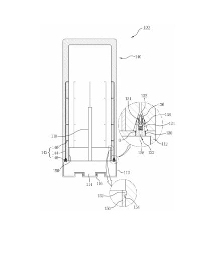
요약 : 본 발명은 안경의 수납뿐만 아니라 세척수를 이용한 세척 및 건조가 가능하게 함으로써, 언제 어디서나 안경을
청결하게 세척할 수 있게 함과 아울러 구조가 단순하여 제작이 용이하고, 그로 인해 제작비용을 절감할 수 있을
뿐만 아니라 사용이 간편하여 소비자의 구매 욕구를 충족시킬 수 있는 휴대용 안경 세척기에 관한 것으로, 세척
수 또는 공기로 이루어지는 세척유동체가 저장되고 상부에는 안경이 거치되는 세척탱크; 및 안경을 내부에 수납
할 수 있도록 세척탱크에 결합되고 세척탱크에서 배출되는 세척유동체를 안경 측으로 분사하는 캡;을 포함한다.





