출원번호 : 10-2015-0004232 (2015.01.12)
등록번호 : 10-15437290000 (2015.08.05)
특허권자 : 군산대학교산학협력단
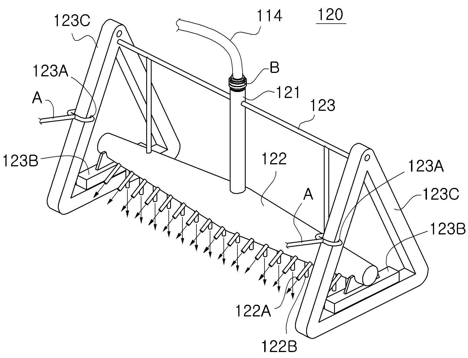
요약 :본 발명의 실시 예에 따른 수중 퇴적물 정화장치는 선박에 구비되고, 저질 개선제와 혼합한 해수를 공급하는 펌프부; 및 상기 선박의 진행방향으로 견인되고, 상기 펌프부가 공급한 해수를 해저 바닥에 상기 선박의 진행방향으로 경사지게 분사하는 제1 노즐과 상기 제1 노즐의 후방에 형성되고, 상기 바닥의 수직방향으로 상기 해수를 분사하는 제2 노즐을 구비한 분사부; 를 포함하되, 상기 분사부는 상기 펌프부로부터 해수가 저질 개선제와 혼합한 해수를 공급받는 적어도 하나의 공급관; 다수의 상기 제1 노즐과 다수의 상기 제2 노즐이 형성된 원통형의 고압수 분배관; 및 상기 공급관과 상기 고압수 분배관을 지지하도록 프레임 구조로 형성되고, 상기 고압수 분배관의 양단이 연결되는 바디 프레임; 을 포함하며, 상기 고압수 분배관은 상기 제1 노즐과 상기 제2 노즐에서 분사하는 해수의 압력 차를 발생시키는 수압조절수단; 을 포함하고, 상기 수압조절수단은 다수의 홀이 구비된 격벽 형상으로서, 상기 고압수 분배관의 내부에 구비되고, 상기 제1 노즐과 상기 제2 노즐에 공급되는 해수에 압력차를 발생시키기 위해 상기 고압수 분배관의 내부를 서로 다른 체적으로 분할한다.
1020150004232





