출원번호 : 10-2023-0009170 (2023.01.25)
등록번호 : 10-25664680000 (2023.08.08)
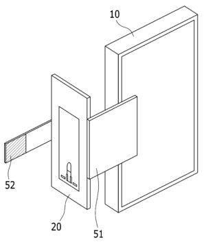
요약 : 카드분실방지 스마트폰 케이스는 스마트폰의 적어도 일부를 수용하는 수용공간을 형성하는 케이스본체, 케이스본체 일측에 결합되어 카드를 수용하기 위한 카드수용부, 카드수용부 일측에 부착 및 이격 가능하게 결합되는 수용부연장부, 카드수용부 타측에 결합되어 카드수용부가 케이스본체 타측에 고정 결합되도록 하는 수용부고정부를 포함하는 수용부결합부를 포함한다.





