출원번호 : 10-2017-0117099 (2017.09.13)
등록번호 : 10-20295370000 (2019.09.30)
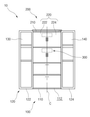
요약 : 본 발명은 가정용 유골함 보관장치에 관한 것으로, 더욱 상세하게는 내부에 설치공간부를 갖는 외부하우징, 내부에 유골함을 모시기 위한 안치공간부를 갖고, 상기 외부하우징의 설치공간부에 구비되는 내부하우징, 및 열전소자를 갖고, 상기 안치공간부를 저온으로 유지하기 위한 냉장부,를 포함한다.
12,000,000원
판매 대리인 : 기율특허
전화번호 : 1544-9739
메일주소 : kiyul@kiyul.co.kr
가격 : 1,200만원
가정용 유골함 보관장치
출원번호 : 10-2017-0117099 (2017.09.13)
등록번호 : 10-20295370000 (2019.09.30)
요약 : 본 발명은 가정용 유골함 보관장치에 관한 것으로, 더욱 상세하게는 내부에 설치공간부를 갖는 외부하우징, 내부에 유골함을 모시기 위한 안치공간부를 갖고, 상기 외부하우징의 설치공간부에 구비되는 내부하우징, 및 열전소자를 갖고, 상기 안치공간부를 저온으로 유지하기 위한 냉장부,를 포함한다.